안녕하세요, MoonLight입니다.
이번 Post에서는 1x1 Convolution 연산에 대해서 알아보도록 하겠습니다.
우선 일반적인 Convolution 연산에 대해서 알아본 후 이 글을 읽어주셨으면 좋겠습니다.
Convolution에 대한 글은 아래 Link를 참고해 주시기 바랍니다.
https://moonlight314.tistory.com/entry/CNN-Convolutional-Neural-Network
CNN ( Convolutional Neural Network )
CNN(Convolutional Neural Network)은 주로 Image에 사용되는 Deep Learning Architecture입니다. Image Classification, Object Detection / Segmentation등에서 매우 성능이 우수하다고 알려져 있으며, CNN은 그 이름에서 알 수 있
moonlight314.tistory.com
0. Introduction
저는 처음 1x1 Convolution이라는 이름을 봤을 때, '1x1이면 1개의 Pixel인데, 크기 1짜리 Kernel 연산이 의미가 있을까'라는 의문이 들더군요
1x1 Convolution 연산은 일반적인 Convolution 연산과 몇 가지 중요한 차이점이 있습니다.
가장 중요한 차이는 일반적인 Convolution 연산이 공간적 정보를 처리하는 데 중점을 두는 반면,
1x1 Convolution은 Channel 간의 정보를 조합하고 차원을 조절하는 데 주로 사용됩니다.
말로 설명하니 약간 이해가 되지 않는데요, 추가 설명과 연산 방법에 살펴보면 이해가 될 것 같습니다.
0.0. 차이점
0.0.0. Kernel 크기
일반적인 Convolution에서는 보통 3x3, 5x5, 7x7 등의 Kernel 크기를 사용하여 Kernel 내의 여러 픽셀 간의 공간적 관계를 학습하고
이 값들을 바탕으로 새로운 Feature를 생성하는 것을 반복하는 과정을 거치게 됩니다.
반면 1x1 Convolution에서는 Kernel 크기가 1x1이며 단 하나의 Pixel에서만 연산을 수행하며, 공간적인 정보는 전혀 고려하지 않고 오직 Channel 차원에서의 정보만을 조작한다는 의미입니다.
0.0.1. 목적
일반적인 Convolution의 목적은 Image의 텍스처, 가장자리, 형태 등 공간적인 패턴을 인식하고 이를 기반으로 특징을 추출하는 데 가장 큰 목적이 있습니다.
반면에, 1x1 Convolution은 주로 Neural Network의 깊이를 변경하는 데 사용되며 이는 Channel 수를 늘리거나 줄이는 역할, 각 Channel의 정보를 조합하여 새로운 Feature을 생성하는데도 사용됩니다.
0.0.2. 연산 효율성
일반적인 Convolution은 더 넓은 영역의 정보를 계산에 포함하기 때문에 비교적 많은 계산량이 요구되지만, 1x1 Convolution은 계산량이 상대적으로 적으며, 매우 효율적인 차원 변환 도구로 사용됩니다.
Neural Network의 복잡성을 조절하거나, Convolution Layer 사이에서 병목 현상을 줄이는 데 유용합니다.
1x1 Convolution은 이러한 특성 덕분에 매우 다양하게 활용되며, 특히 복잡한 아키텍처에서 중간 차원의 축소나 증가, Channel 정보의 재조합 등에 사용되어 Neural Network의 성능을 최적화하는 데 큰 역할을 합니다.
1. 연산 방법
실제 1x1 Convolution 연산을 하는 방법을 소개해 드리도록 하겠습니다.
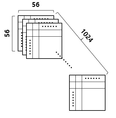
Input Feature Map의 Size가 56x56x512라고 하고, 우리는 이 Feature Map의 Channel을 2배인, 1024개로 늘리고자 합니다.

Step 01
먼저 Input Feature Map의 Channel 수(=512)와 동일한 수의 Weight를 최종 목표 Channel 수와 동일한 1024개 준비합니다.

Step 02
Input Feature Map에서 하나의 Pixel의 위치를 선택합니다. 아래의 그림에서는 (0,0) 위치의 Pixel을 선택했다고 가정합니다.

Input Feature Map의 Channel 수가 512개이기 때문에, (0,0) 위치의 Pixel은 모두 512개가 있습니다.
이 (0,0) 위치의 Pixel 512개를 첫 번째 Kernel Filter와 Element-wise 곱셈을 수행합니다.
곱셈을 수행하면 512개의 결과가 나올 것이고, 이 값들 모두 더하면 하나의 결괏값이 나옵니다.
이 과정을 1024개 Kernel Filter에 반복하면 Pixel 하나에 1024개의 값이 생깁니다.
Step 03
이번에는 Input Feature Map의 (0,1) 위치의 Pixel을 선택하고, Step 02와 같이 Kernel Filter 1024개와 각각 모두 곱하고 더해서 하나의 값을 계산한 후 Concatenate 합니다.

Step 04
이와 같은 연산을 Pixel 수만큼 반복합니다. 그러면 총 56x56개의 1024개 값이 나옵니다.
결과적으로 최초 Input Feature Map의 Size인 56x56x512에서 56x56x1024의 Feature Map이 생겨나면서
Channel 수가 2배 증가하는 효과를 가져옵니다.

이번 Post에서는 1x1 Convolution의 설명과 실제 연산하는 방법에 대해서 살펴보았습니다.
앞으로 다룰 내용의 중요한 일부분이어서 미리 내용 정리해 보았습니다.
도움이 되셨기를 바라며, 다음에 또 뵙겠습니다.
'Deep_Learning' 카테고리의 다른 글
| Transpose Convolution (1) | 2024.07.14 |
|---|---|
| U-Net : Convolutional Networks for Biomedical Image Segmentation (0) | 2024.06.18 |
| Transformer #5 - Decoder Detail (0) | 2024.05.23 |
| Transformer #4 - Encoder Detail (0) | 2024.05.21 |
| 코엑스 2024 AI EXPO KOREA (1) | 2024.05.02 |